公司名称: 长沙小番茄科技有限公司
系统运行库修复工具是一款用于管理和修复操作系统中运行库文件和相关组件的软件工具,系统运行库电脑版能够让计算机系统中所需的运行库和依赖文件完整、有效、且与应用程序兼容,规避缺失或损坏的运行库导致应用程序无法启动或出现错误。
系统运行库软件能够自动检测并修复缺失或损坏的系统运行库文件,可以系统能顺利运行,无需太多复杂的配置操作。
功能特色
为应用程序提供文件操作、内存管理、进程管理、网络通信等底层服务。
通过封装复杂的底层操作,将其转化为简单的函数调用或接口,让开发者无需深入了解硬件和操作系统的底层细节,就能轻松实现各种功能,大大提高了开发效率。
不同的操作系统版本和硬件平台对应用程序的运行环境要求各异。
系统运行库能够在应用程序与不同的操作系统、硬件之间起到适配作用,确保应用程序在各种环境下都能稳定运行,降低了应用程序移植和升级的难度,使得软件可以在多种平台上保持较好的兼容性。
运行库中包含了经过优化的算法和数据结构,能够提升应用程序的运行效率。
注意:
1、这里为大家提供的是小番茄DirectX.DLL修复工具,软件涵盖了DirectX修复、DLL修复、错误类型修复、C++库文件、.NET运行可、游戏必备工具等。
2、软件下载完成之后,双击安装包会提供一个安装界面,大家可以选择合适的电脑磁盘进行安装,然后进行安装即可。
3、安装完成之后提供了一个安装成功界面,这里提供了软件公众号和交流群的加入方式,大家有什么问题都可以在这里提出来,会有专业的人员为大家解决软件相关的问题。
4、点击立即体验即可进入打开软件界面,软件为大家提供了七个栏目功能,首先是全面修复功能,这里能够检测电脑系统缺失的文件。
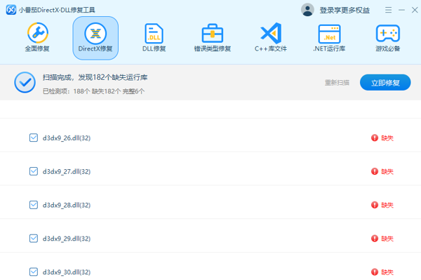
5、DirectX修复功能,提供了一键式扫描功能,可以优化游戏的各种问题故障,让大家能够获得一个良好的游戏体验。
点击一键扫描之后会扫描电脑缺失的文件;
扫描完成您可以直接点击立即修复即可安装文件。
6、DLL修复功能,提供了两种方式。
一种是直接选择一键扫描
另一种是手动搜索
7、错误类型修复功能,这里为大家提供了常见的错误提示解决方法。
8、C++库文件提供了很多不同的VC++版本,可以根据个人所需进行下载安装。
9、.NET运行库提供了多个版本的安装包。
10、游戏必备提供了一些好用的辅助工具。











普通下载


